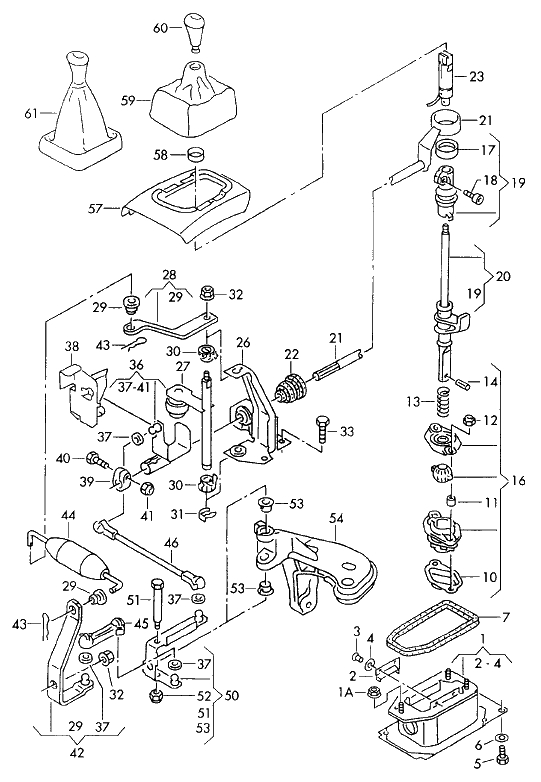
Mam problem z brakującym elementem (nr 2 na schemacie). Powiedzcie mi proszę czy ta płytka jest do kupienia? Na jednym ze szrotów powiedzieli że jest zanitowana i trzeba wymienić cały mechanizm... Ja problemu nie mam, ale ponieważ moja połówka ma zamiar zacząć jeździć muszę temat ogarnąć.
Please help

Pozdrawiam

